ドンフロン・アン・ポワレ(Domfront en Poiraie)

2025年5月15日(木)、最初に訪れたのはDomfront en Poiraie、ノートルダム=シュル=ロ教会(Église Notre-Dame-sur-l’Eau)です。

ここは、鐘楼が傑作です。クワイヤと後陣も良いです。

2025年5月、教会は修復工事中でした。私は教会の中に入りませんでした。

目次

1. Domfront en Poiraie .
2. 概要 .
3. 平面図 .
4. 内観 .
5. 外観(南西側) .
6. 内観(南東側) .

1. Domfront en Poiraie

ドンフロン・アン・ポワレ(Domfront en Poiraie)は、ノルマンディー地域圏オルヌ県にある町で、県都アランソンの約55km北西にあります。

教会は、町の中心にあり、ヴァレンヌ(Varenne)川の西岸に位置しています。

東側遠景

2. 概要

観光局のウェブサイトにリーフレットがありました。私が一部を抜粋して太字で和訳します。

ヴァレンヌ(Varenne)川の古い浅瀬の近く、城を見下ろす場所に位置するノートルダム=シュル=ロ教会(Église Notre-Dame-sur-l’Eau)は、ドンフロン(Domfront)の最初の教区教会であると同時に、ロンレイ修道院(abbaye de Lonlay)の小修道院(prieuré)でもあった。

現在の建物は1100年頃に建てられたが、教会が正式に奉献されたのは1156年のことである。この教会は、より古い建物を建て替えたものであろう。

この教会は、百年戦争中にはイギリス軍による略奪や放火、1568年の宗教戦争ではモンゴメリーのプロテスタントたちによる略奪や放火など、数々の試練に遭遇した。フランス革命時には飼料倉庫、そして硝石(爆発物)の工場へと変貌した。

1826年には取り壊しが検討された。1836年には、歴史的建造物監督官プロスペール・メリメの抗議にもかかわらず、身廊の六つの柱間のうち四つと南北の側廊が、道路建設のために取り壊された。メリメは1840年に初めて行った歴史的建造物の調査で、この教会を登録物件とした。そして1944年には連合国の爆撃によって損傷を受けた。それ以来、慎重な修復作業が続けられている。

内部
内部は身廊が質素なのに対し、内陣は二層の盲アーケードで装飾され、その柱頭も装飾されている。教会内には12世紀の壁画が残され、北小後陣にはそれらを覆っていた13世紀の壁画の写真が展示されている。

この後は、ゾディアック(Zodiaque) la nuit des temps『Normandie Romane』を引用する時に太字で書きます。

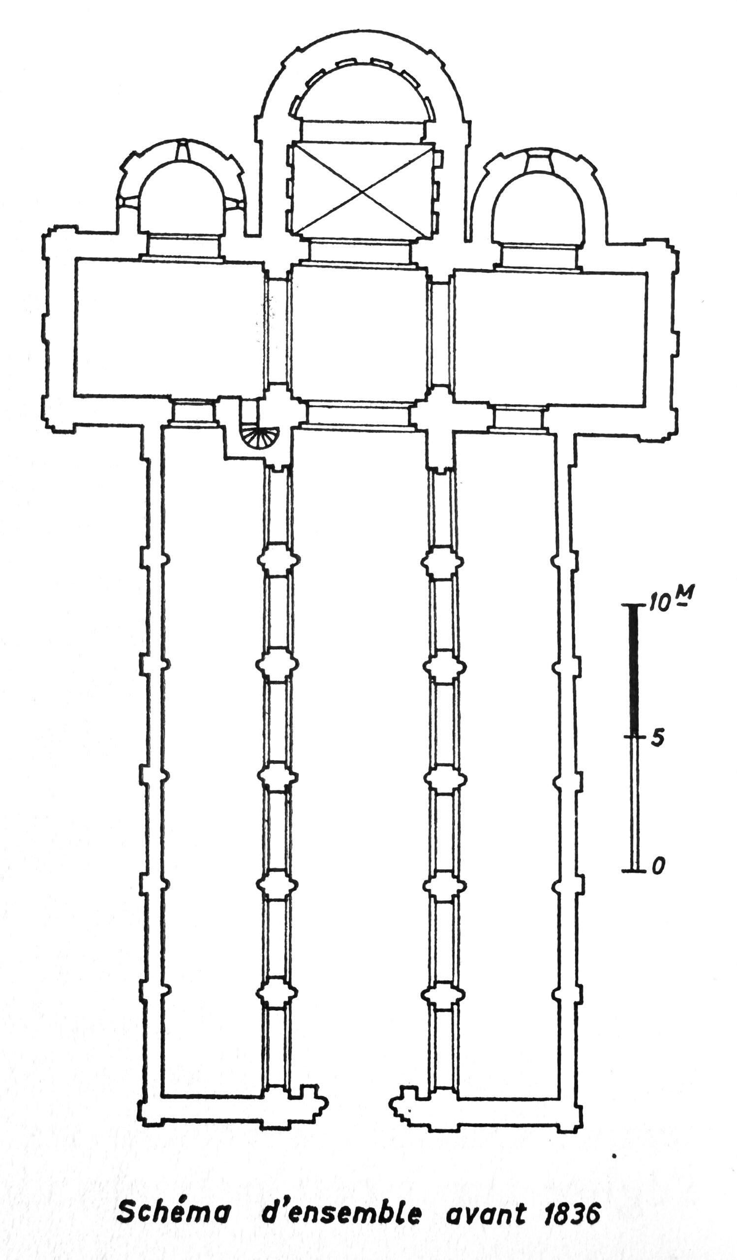
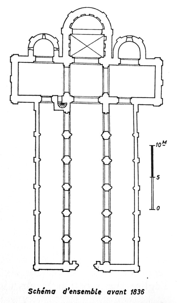
3. 平面図

ゾディアック(Zodiaque) la nuit des temps『Normandie Romane』による平面図です。東が上です。

<現状>

『Normandie Romane』より(現状)

黒色:第1段階(11世紀)
網目:第2段階(12世紀初め)
点々:16世紀から17世紀
斜線:近代
点線:1836年に解体

<1836年以前の全体図>

『Normandie Romane』より

4. 内観

私は教会の中に入っていません。ゾディアック(Zodiaque) la nuit des temps『Normandie Romane』による画像です。

『Normandie Romane』より

5. 外観(南西側)

南西に行きます。

南西側外観

1836年の損傷を修復するため、新しい西側ファサードには旧扉口が埋め込まれた。花崗岩の性質上、非常に簡素なものである。

柱頭には、絡み合う模様などが彫られています。

西扉口の柱頭

6. 外観(南東側)

南東に行きます。

この場所から初めて、この建物の質と調和を十分に実感できる。特に南東側に立つとそれがよくわかる。交差部と鐘楼の角を支える平らなバットレスが垂直方向の勢いを示しているが、中央の高さに走る帯が、クワイヤ、後陣、鐘楼の水平方向の分割を強く強調している。その結果、力強い均衡と安定感が生まれている。

何よりも注目すべきは、高さとほぼ同じ幅を持つ鐘楼である。四角い基部の上に下層部分があり、各面に四つの盲アーチが小さな柱に支えられている。その上に、細い帯状の装飾があり、各面に二つの大きな二重窓が、装飾のない状態で開いている。コーニスと持ち送りが四角錐の屋根を支えているが、これは最近のものである。フランス革命までは、かなり尖った屋根があった。現在の屋根は、上昇感をあまり求めず、むしろ選択した素材にぴったりの堅牢さを主張する、この建築全体の美観により合致しているだろう。その様式は、あらゆる華やかさを排除した節度と英知の傑作である。

南東側外観

軒下や窓に彫刻があります。

アーチのところにある星のような模様、私は好きです。

クワイヤの南側

後陣も簡素で美しい。

後陣

持ち送りには、動物や人物などが彫られています。

持ち送り

花崗岩の性質を生かした簡素な彫刻で、味わい深いです。

持ち送り

ノートルダム=シュル=ロ教会(Église Notre-Dame-sur-l’Eau)。鐘楼が傑作です。クワイヤと後陣も良いです。

コメントを残す

メールアドレスが公開されることはありません。 が付いている欄は必須項目です